PVC-C J41F-10V Typ příruby Kulový ventil DN15-150 1/2"-6" Standard ANSI

Přírubový kulový ventil PVC-C Přímý vysokoteplotní DN15–DN150 Chemický a průmyslový plastový ventil ANSI Standard
Model: J41F-10V
Materiál: Plast
Typ připojení: Přírubové
Provozní režim: Manuální
Nominální tlak: 10 kg
Průtokový kanál: Přímý typ
Struktura: Pevný kulový ventil
Typ: Ventil s pevnou kulovou hlavou
Funkce: Obtokový ventil
Teplota: Vysoká teplota
Použití: Průmyslové použití, Použití pro úpravu vody
Značka: KXPV
Specifikace: DN15–DN150
Původ: Zhejiang, Ningbo

Tlaková třída: 1,0 Mpa(10bar)

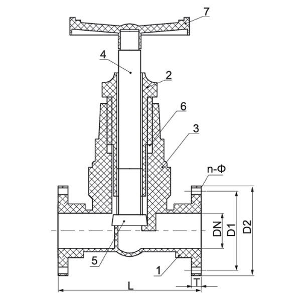
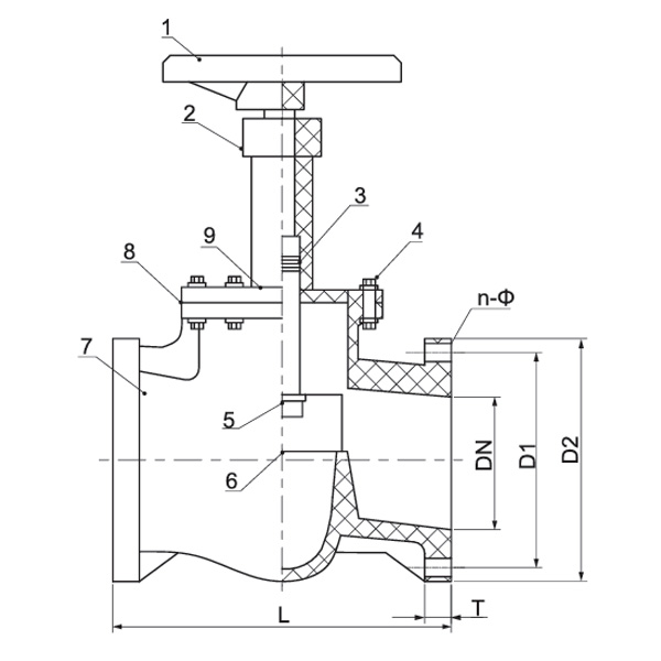
Strukturální vlastnosti produktu

1. Plastové tělo ventilu nabízí vynikající odolnost proti korozi a opotřebení.
2. Kompaktní design, nákladově efektivní a vysoký výkon.
3. K dispozici jsou ventily pro nastavení průtoku.

Seznam omezení teploty aplikace

Materiál Střední teplota℃ Materiál Střední teplota℃
PVC-C -20 ℃ ~ 95 ℃ PVC-U -5℃~ 45℃
FRPP -20 ℃ ~ 120 ℃ PPH -20 ℃ ~ 110 ℃
PVDF 40 ℃ ~ 150 ℃

Tabulka materiálů dílů

Ne. Jméno Materiál množství
PVC-C PVC-U PVDF PPH FRPP
1 Tělo PVC-C PVC-U PVDF PPH FRPP 1
2 Blokování zámku PVC-C PVC-U PVDF PPH FRPP 1
3 Konektory PVC-C PVC-U PVDF PPH FRPP 1
4 Stopka PVC-C PVC-U PVDF PPH FRPP 1
5 Těsnicí kryt PVC-C PVC-U PVDF PPH FRPP 1
6 Stenovo těsnění PTFE 1
7 kolo Materiál slitiny 1

Ne. Jméno Materiál množství
PVC-C PVC-U PVDF PPH FRPP
1 kolo Materiál slitiny 1
2 Těsní matice PVC-C PVC-U PVDF PPH FRPP 1
3 Stenovo těsnění PTFE 1
4 Šroub ocel 8
5 Stopka (PVC-C/PVC-U/PVDF/PPH/FRPP) OcelOcel 1
6 Uzavření PVC-C PVC-U PVDF PPH FRPP 1
7 Tělo PVC-C PVC-U PVDF PPH FRPP 1
8 Těsní guma FPM EPDM FPM EPDM 1
9 Kapota PVC-C PVC-U PVDF PPH FRPP 1



Ne. Jméno Materiál množství
PVC-C PVC-U PVDF PPH FRPP
1 kolo Materiál slitiny 1
2 Těsní matice PVC-C PVC-U PVDF PPH FRPP 1
3 Suppot (PVC-C/PVC-U/PVDF/PPH/FRPP) OcelOcel 1
4 Šroub ocel 8
5 Stopka (PVC-C/PVC-U/PVDF/PPH/FRPP) OcelOcel 1
6 Uzavření PVC-C PVC-U PVDF PPH FRPP 1
7 Tělo PVC-C PVC-U PVDF PPH FRPP 1
8 Těsní guma FPM EPDM FPM EPDM 1
9 Kapota PVC-C PVC-U PVDF PPH FRPP 1

Seznam dimenzí

Specifikace D1 (mm) D2 (mm) L(mm) T(mm) n-Φ(mm)
1/2" (15) 60 105 155 18 4-Φ14
3/4" (20) 70 105 155 18 4-Φ14
1" (25) 79 115 160 20 4-Φ14
1¼" (32) 89 135 185 20 4-Φ18
1½" (40) 98 150 200 20 4-Φ18

Specifikace D1 (mm) D2 (mm) L(mm) T(mm) n-Φ(mm)
2" (50) 121 165 230 20 4-Φ18

Specifikace D1 (mm) D2 (mm) L(mm) T(mm) n-Φ(mm)
1/2" (15) 60 105 155 18 4-Φ14
3/4" (20) 70 105 155 18 4-Φ14
1" (25) 79 115 160 20 4-Φ14
1¼" (32) 89 135 185 20 4-Φ18
1½" (40) 98 150 200 20 4-Φ18
Zpětná vazba zprávy
O nás
Kaixin Pipeline Technologies Co., Ltd.
Založena v roce 1999, Kaixin Pipeline Technologies Co., Ltd. je high-tech podnik integrující výzkum a vývoj, výrobu, prodej a servis. Společnost je držitelem několika prestižních certifikací, včetně National High-Tech Enterprise, „Little Giant“ Specialized and Sophisticated SME, National Single Product Champion (kultivace), provinčního technologického malého a středního podniku, Ningbo Specialized and Sophisticated SME, Ningbo Single Product Champion (kultivace), Ningbo Polymer Pipe & Valve Technology R&D Center, District-Level Enterprise Management Factory, Ningbo Inbo Green Enterprise Management Factornov Úroveň vyspělosti schopností 2.
Specializujeme se na vývoj, výrobu a dodávky nekovových korozivzdorných produktů pro chemické aplikace, včetně plastových ventilů, potrubí, potrubních armatur a korozivzdorných čerpadel. Naše produktové portfolio zahrnuje materiály jako PVC-C, PVC-U, PVDF, PPH a FRPP s komplexní řadou typů a specifikací. Je pozoruhodné, že naše klapky mohou dosáhnout průměru DN1000, zatímco trubky a tvarovky dosahují až DN800, což řeší mezery na trhu a udržuje naši konkurenční výhodu v oboru.
Řídí se zásadou „Technology-Driven, Keeping Tempe with the Times“ a Kaixin přiděluje ročně téměř 10 milionů RMB na výzkum a vývoj. Zajišťujeme vynikající kvalitu produktů prostřednictvím standardizované automatizované výroby a přísného získávání dovážených surovin. V souladu s naší mezinárodní strategií rozvoje neustále sledujeme trendy na globálním trhu a využíváme digitální kanály, abychom zákazníkům po celém světě přinesli vysoce kvalitní produkty „Made in China“.
Ningbo • Fenghua R&D & Production Base
S celkovou investicí 200 milionů RMB založila společnost Kaixin Ultra-Pure Pipe Technology (Ningbo) Co., Ltd. ve spolupráci s univerzitami a výzkumnými ústavy novou materiálovou laboratoř, vybudovala moderní výrobní základnu a nainstalovala 8 plně automatizovaných výrobních linek pro modifikované plasty a 8 pro polymerní materiály. Zařízení se věnuje výzkumu a vývoji, výrobě a aplikaci nových modifikovaných plastů a polymerních materiálů. Kaixin se také zavázal přitahovat špičkové talenty napříč obory, neustále podporovat inovace produktů a vývoj značky s cílem stát se celosvětově uznávaným lídrem v oblasti výzkumu a vývoje a výroby polymerních ventilů, potrubí a armatur.
čestný certifikát
  • honor
  • honor
  • honor
  • honor
  • honor
  • honor
  • honor
  • honor
  • honor
Novinky