PVC-U G41F-10U typ A přírubový membránový ventil DN15–300 1/2"-12" standard ANSI

Prodej za tepla Factory Direct DN15–DN300 Nový vysokoteplotní přírubový membránový ventil z PVC-U pro chemické závody, nejnovější design, standard ANSI
Aplikace: Obecné
Střední teplota: vysoká, střední
Napájení: Manuální
Střední: Kyselina
Velikost portu: DN15–DN300
Konstrukce: Membrána
Název produktu: PVC-U membránový ventil
Připojení: Přírubový konec
Certifikát: ISO9001
Tlaková třída: 1,0 MPa (10 bar)
Typ ventilu: 1-cestný
Těsnění: EPDM F46
Dodací lhůta: 7 dní
Minimální objednané množství: 1 kus

Strukturální vlastnosti produktu
1.Těsnicí membrána je vyrobena z F46 nebo PFA, s odolností v ohybu ≥120 000 cyklů a odolností proti korozi ekvivalentní F4.
2.Ventil má šroubovací konstrukci s nízkým provozním momentem a vynikající stabilitou.

Seznam omezení teploty aplikace

Materiál Střední teplota℃ Materiál Střední teplota℃
PVC-C -20 ℃ ~ 95 ℃ PVC-U -5℃~ 45℃
FRPP -20 ℃ ~ 120 ℃ PPH -20 ℃ ~ 110 ℃
PVDF 40 ℃ ~ 150 ℃
Tabulka materiálů dílů
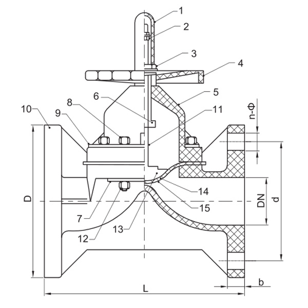
Ne. Jméno Materiál množství
1 Limit krytí AS 1
2 Šroub ocel 1
3 Přídržná matice 65Mn 1
4 kolo FRPP,FRPP,FRPP,PPH,FRPP 1
5 Kapota PVC-C,PVC-U,PVDF,PVDF,FRPP 1
6 Ořech Měď 1
7 Talíř ocel
8 Šroub ocel
9 Talíř ocel
10 Tělo Stell
11 Stopka PVC-C,PVC-U,PVDF,PVDF,FRPP 1
12 Ořech Cap PVC-C,PVC-U,PVDF,PPH,FRPP 1
13 disk PVDF, železo 1
14 Flim EPDM 1
15 Membrána F46/PFA/PTFE 1

Seznam dimenzí

Specifikace d
(mm)
D
(mm)
L
(mm)
b
(mm)
n-Ф
(mm)
1/2" (15) 60 95 125 14 4-Φ16
3/4" (20) 70 115 135 18 4-Φ16
1" (25) 79 115 145 18 4-Φ16
1¼" (32) 89 135 160 18 4-Φ18
1½" (40) 98 145 180 20 4-Φ19
2" (50) 121 160 210 22 4-Φ19
2½" (65) 140 180 250 24 4-Φ19
3" (80) 152 195 300 24 8-Φ19
4" (100) 191 229 350 26 8-Φ19
5" (125) 216 250 400 30 8-Φ22
6" (150) 241 280 455 30 8-Φ23
8" (200) 299 343 570 40 8-Φ23
10" (250) 362 406 680 40 12-Φ23

Zpětná vazba zprávy
O nás
Kaixin Pipeline Technologies Co., Ltd.
Založena v roce 1999, Kaixin Pipeline Technologies Co., Ltd. je high-tech podnik integrující výzkum a vývoj, výrobu, prodej a servis. Společnost je držitelem několika prestižních certifikací, včetně National High-Tech Enterprise, „Little Giant“ Specialized and Sophisticated SME, National Single Product Champion (kultivace), provinčního technologického malého a středního podniku, Ningbo Specialized and Sophisticated SME, Ningbo Single Product Champion (kultivace), Ningbo Polymer Pipe & Valve Technology R&D Center, District-Level Enterprise Management Factory, Ningbo Inbo Green Enterprise Management Factornov Úroveň vyspělosti schopností 2.
Specializujeme se na vývoj, výrobu a dodávky nekovových korozivzdorných produktů pro chemické aplikace, včetně plastových ventilů, potrubí, potrubních armatur a korozivzdorných čerpadel. Naše produktové portfolio zahrnuje materiály jako PVC-C, PVC-U, PVDF, PPH a FRPP s komplexní řadou typů a specifikací. Je pozoruhodné, že naše klapky mohou dosáhnout průměru DN1000, zatímco trubky a tvarovky dosahují až DN800, což řeší mezery na trhu a udržuje naši konkurenční výhodu v oboru.
Řídí se zásadou „Technology-Driven, Keeping Tempe with the Times“ a Kaixin přiděluje ročně téměř 10 milionů RMB na výzkum a vývoj. Zajišťujeme vynikající kvalitu produktů prostřednictvím standardizované automatizované výroby a přísného získávání dovážených surovin. V souladu s naší mezinárodní strategií rozvoje neustále sledujeme trendy na globálním trhu a využíváme digitální kanály, abychom zákazníkům po celém světě přinesli vysoce kvalitní produkty „Made in China“.
Ningbo • Fenghua R&D & Production Base
S celkovou investicí 200 milionů RMB založila společnost Kaixin Ultra-Pure Pipe Technology (Ningbo) Co., Ltd. ve spolupráci s univerzitami a výzkumnými ústavy novou materiálovou laboratoř, vybudovala moderní výrobní základnu a nainstalovala 8 plně automatizovaných výrobních linek pro modifikované plasty a 8 pro polymerní materiály. Zařízení se věnuje výzkumu a vývoji, výrobě a aplikaci nových modifikovaných plastů a polymerních materiálů. Kaixin se také zavázal přitahovat špičkové talenty napříč obory, neustále podporovat inovace produktů a vývoj značky s cílem stát se celosvětově uznávaným lídrem v oblasti výzkumu a vývoje a výroby polymerních ventilů, potrubí a armatur.
čestný certifikát
  • honor
  • honor
  • honor
  • honor
  • honor
  • honor
  • honor
  • honor
  • honor
Novinky